중마오합규센터

중마오합규센터

导航菜单
중마오합규센터

资讯中心

>

中贸动态

희소식 | ZMUni, 한국 브랜드 “DAERA(대라)” 20종 제품 등록 성공 지원!
发布时间:2025-09-29

최근 「ZMUni 중마오 컴플라이언스 센터」의 전문적인 지원을 통해, 한국 브랜드 DAERA(대라)의 17종 수입 일반 화장품이 이미 등록을 완료하고 승인을 순조롭게 통과하였으며, 동시에 3종 수입 특수 화장품도 등록 절차를 마쳤습니다. 제품 규제 상담, 신청 자료의 정리 및 준비에서부터 제출과 심사 절차까지, 저희는 전문적인 기술 역량과 효율적인 실행력을 바탕으로 모든 과정을 철저히 관리하여 고객사의 기대를 충족시키고 이를 뛰어넘는 성과를 달성했습니다.

 

현재 저희는 DAERA(대라)의 다른 제품 업무도 지속적으로 추진하고 있으며, 고객사에게 전 과정 규제 준수 지원과 보장을 제공하여 국제 뷰티 브랜드가 중국에서 장기적이고 표준화된 합규적인 운영을 실현할 수 있도록 돕고 있습니다.

 

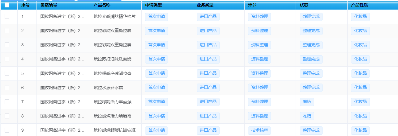
  • 17종 수입 일반 화장품:

DAERA 玳拉1.png

DAERA 玳拉2.png

  

  • 3종 수입 특수 화장품:

DAERA 玳拉3.png

  

DAERA(대라) 브랜드 소개 

 

DAERA(대라)는 2020년에 설립된 한국의 화장품 브랜드로, (새벽의 빛) + ERA(새로운 시대)의 합성어에서 유래하였습니다. 우수한 제품을 통해 피부 고민을 줄이고, 일상을 더욱 아름답게 만드는 홈 케어 뷰티 브랜드를 지향합니다.

 

DAERA(대라)는 수년간의 피부 연구, 피부 관리 교육, 성분 연구를 거쳐, 피부과와 피부 데이터를 기반으로 공동 개발을 진행해 왔습니다. 피부 건강 상태에 맞추어 성분의 효능을 극대화하여 건강한 피부를 위한 최적의 솔루션을 제공하며, 일상적인 홈 케어만으로도 건강한 피부를 완성할 수 있도록 고효율 제품을 제공합니다.

 

1759128611234252.png

 

 

화장품 등록은 ZMUni 중마오 컴플라이언스 센터의 가장 오래되고 두드러진 장점이 있는 핵심 서비스입니다. 저희 팀은 중국 화장품 법규 요건에 정통하며 풍부한 실무 프로젝트 경험을 보유하고 있습니다. 지금까지 2000개 이상의 국내외 화장품 브랜드를 지원하고, 10000개 이상의 제품이 신속하게 등록을 완료하여 성공적으로 증서를 취득할 수 있도록 지원했습니다. 중국으로의 화장품 수출 또는 기타 관련 컴플라이언스 문의가 있으시다면, info@zmuni.com 으로 연락해 주세요!